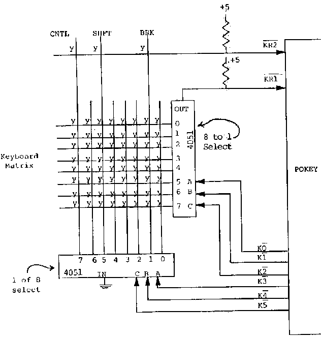
- 0 : noir: p23 (~K0) Keyboard Scan Output
- 1 : marron: p22 (~K1) Keyboard Scan Output
- 2 : rouge: p21 (~K2) Keyboard Scan Output
- 3 : orange: p20 (K3) Keyboard Scan Output
- 4 : jaune: p19 (K4) Keyboard Scan Output
- 5 : vert: p18 (~K5) Keyboard Scan Output
- 6 : bleu: p25 (~KR1) Keyboard Row strobe Input
- 7 : violet : p16 (~KR2) Keyboard Row strobe Input
https://en.wikipedia.org/wiki/POKEY#Pinout
csv : t, 6A, 7A, t, 0D, t, 1D, t, 2D, t, 3D, t, 4D, t, 5D, t, 6D, t, 7D
